
开车听央广新闻,新消息滚滚而来。
小西湖片区作为南京28处历史风貌区之一,不仅有许多明清建筑保留至今,也是最能感受到老南京烟火气的地方。生活着400多户人家。青砖小瓦马头墙,依稀还能够感受到明清民居的风貌。
但年久失修的房屋,私搭乱建的建筑,让小西湖少了一分西湖的美,多了几分棚户的乱。
从2015年开始,南京开始着手对该片区实施改造。如今,临街的一侧成了南京知名的文旅街区,但更多的改变还是发生在居民家里。在这里,改造不是大拆大建,而是力求留住烟火气与城市记忆的微更新。
案例:居民许庆家在这里生活100多年了,承载了7代人的记忆。2021年初,许庆签署了小西湖首例自主更新协议,成为这里第一户改造的居民。如今,他家已住上了改好的新房,天气好时,还能在心仪的小阳台上喝茶晒太阳。
微更新后,不仅房屋的风格、院落得以保留,还增加了小阁楼、独立卫生间、独立厨房等,居民的居住条件明显改善。同时,老宅的后院也被充分利用,打造成了社区规划工作室,跟居民和谐共生。
小西湖片区在改造中,让居民成为房屋更新的参与者,“一房一策”。
除了小西湖片区外,今年南京还有128个老旧小区正在经历改造更新。十年来,南京已完成1500多个老旧小区改造,受益群众50多万户。
如果城市微更新+顶升+家用电梯,那么,住居会更加美好。
看看武汉大学巨成集团的顶升技术。
2021年12月8日,集中控制同步顶升成套设备发布会在武汉举行。该设备由武大巨成结构股份有限公司自主研发,主要应用于建筑物的纠偏、平移、旋转、顶升工程,可将原建筑物群整体向上抬升一层或两层,让老旧小区改造不再难,最大限度地减少建筑垃圾排放。
成套设备通过位移控制,同时控制上千个液压千斤顶时,其位移偏差小于0.3毫米,控制精准,操作方便,安全可靠。该设备由使用大量工业芯片的集中控制同步顶升系统和高精度结构部件组成,用于公共建筑群或住宅小区改造时,先将每一栋单体建筑向上顶升,再用框架将各栋连成整体,这样原建筑物群下部形成了一个大空间。对于住宅小区,下部空间可以安排大量的停车位,还可以设置社区养老、幼儿园、托儿所、公共洗手间等。上部平台可以布置园林景观,顶升施工期间,可以在柱底安装隔震垫,提高抗震性能,还可以安装电梯,修复旧楼的防水与外观。
这一跨学科研发团队涵盖力学、结构、控制、液压、机械、电气、材料等多学科人才,历经5年多,投入数千万元,对所有部件精心设计、逐一试验,同时做了大量的组合试验、大型结构同步顶升试验等。
目前企业围绕该技术和装备申请专利79项,同时正在主编湖北省地方标准《钢滑道顶升技术规程》和中国工程建设标准化协会标准《钢滑道顶升改造老旧小区技术规程》。
如果家里条件允许的话,还可以安装一个家用电梯,从地下室到平台,可以很大程度的便利生活,提升居住舒适感。
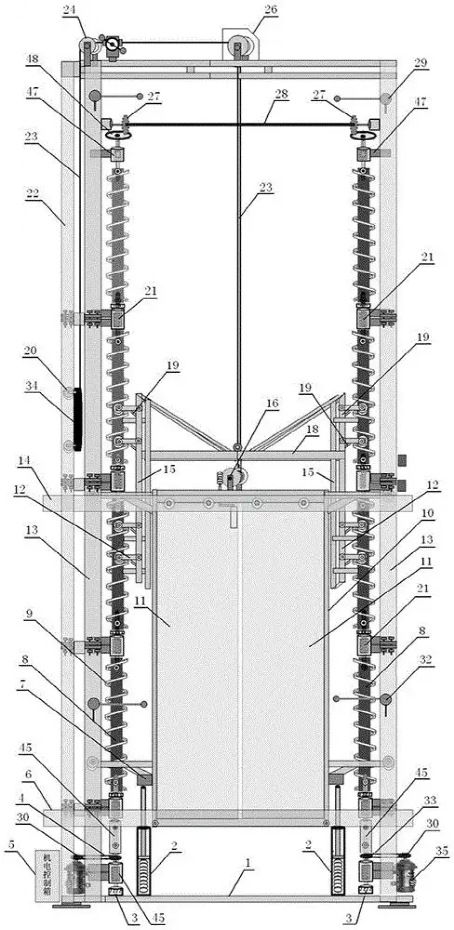
家用电梯是指安装在私人住宅中仅供一个家庭使用的电梯,也可以安装在非单一家庭使用的建筑物内,比如联排别墅和叠加别墅,但是作用是只供单一家庭进入及使用。就是说家用电梯是私人产品。家用电梯可以安装在商业住房也可以安装在住宅中,但是只能提供自己一个家庭的内部人员使用。
家用电梯分为曳引电梯、液压电梯、螺杆电梯(上图),还有一种强制曳引电梯。








